特斯拉近日公開一項與車用無線通訊相關的專利,聚焦車頂結構與訊號穿透設計,為未來支援衛星連線預作技術鋪路。雖未直接點名 Starlink,但專利內容與低軌道衛星通訊需求高度一致,顯示特斯拉正朝向整合多元通訊技術的方向持續布局。
本文主要內容
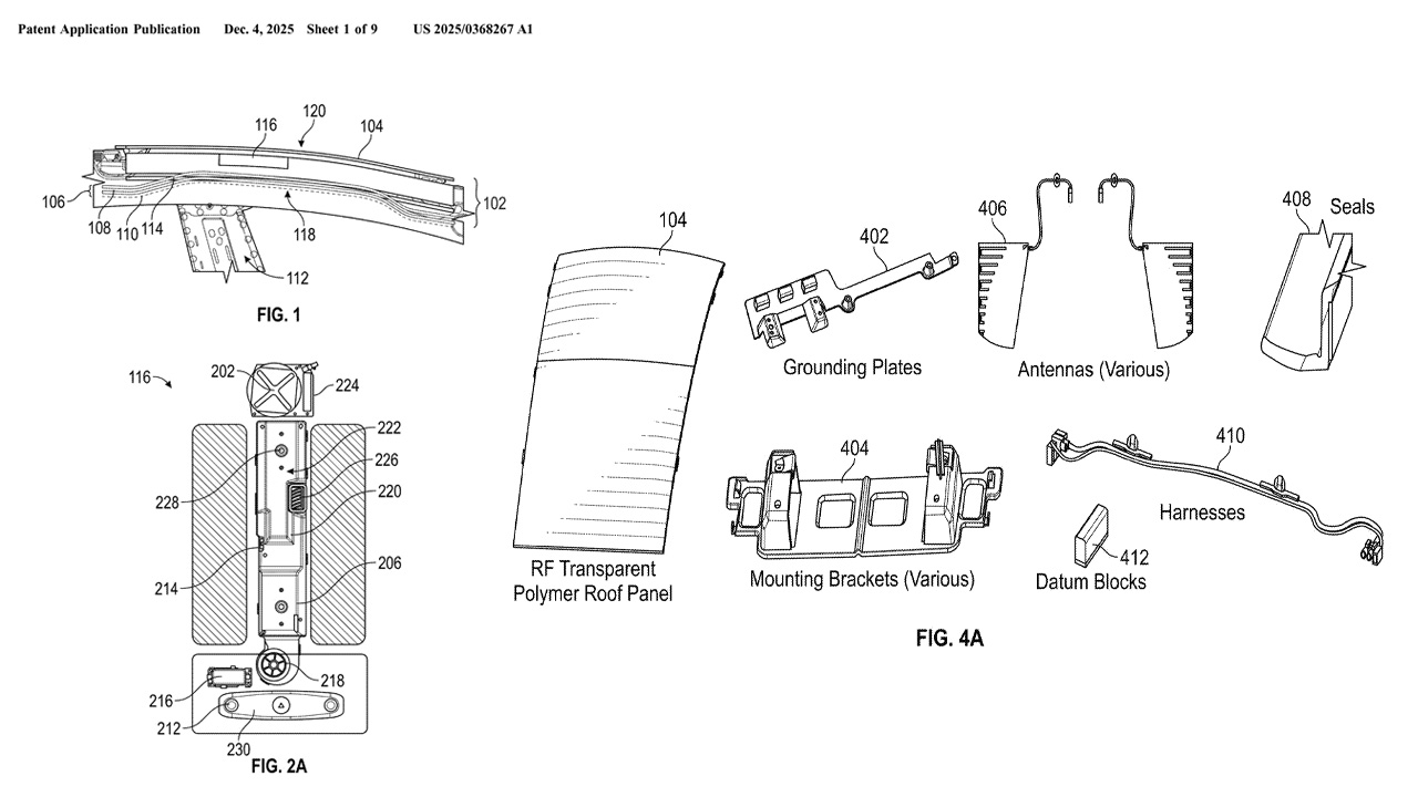
射頻訊號可穿透的車頂設計
這項專利提出一種針對無線訊號友善的車頂結構設計,採用能讓射頻訊號穿透的材料來取代部分金屬板件或鍍膜玻璃。透過聚碳酸酯(PC)、ABS、ASA 等聚合物混合材質,車頂能兼顧結構強度與通訊能力,並將天線隱藏於內部,不需額外暴露於外。

這類設計可提升衛星訊號穿透車體時的效率,避免金屬結構遮蔽或反射造成的連線品質下降,同時符合量產車的外觀一致性與安全要求。
車頂為通訊模組的最佳位置
從工程角度來看,車頂具備良好的訊號收發條件。其位置可避免車體金屬遮蔽,提供清晰的天頂視野,特別適合接收來自低軌衛星的訊號。專利中也將車頂作為通訊模組的主要安裝區域,反映特斯拉將通訊能力納入整車設計考量,而非當作後裝配件處理。

這樣的整合有助於未來拓展更多車內外服務,包括導航、遠端監控、軟體更新與娛樂串流等需要穩定連線的功能,強化特斯拉車輛作為行動通訊終端的定位。

多模組通訊整合為設計方向
該專利不僅針對單一天線設計,而是朝向車頂通訊模組的一體化發展。內部可整合多種無線通訊元件,統一處理並協調訊號來源,有效降低干擾並簡化車內佈線。整合內容包含:
- 衛星通訊天線(對應低軌道衛星)
- 行動網路天線(支援 4G/5G)
- Wi-Fi 與藍牙天線(負責車內外短距通訊)
- 訊號處理與切換模組(協調不同連線來源)
這類設計可提供穩定的連線體驗,並為智慧駕駛與自動更新等功能奠定可靠基礎。

衛星通訊預期作為輔助與備援
專利內容顯示,衛星連線並非為了取代現有行動網路,而是作為備援方案,彌補車輛行駛至訊號薄弱或無覆蓋區域時的連線缺口。可能的應用場景包含:
- 偏遠地區導航與地圖更新不中斷
- OTA 軟體更新傳輸不中斷
- 串流影音或車內娛樂不中斷
- 車輛狀態回傳與遠端監控正常運作
對於依賴即時資料的功能來說,這種備援通訊設計將能有效降低服務中斷風險,特別適合經常行駛山區、郊外或進行長途旅行的車主。

現行改裝方式與潛在整合優勢
目前已有不少特斯拉車主透過吸盤支架等方式,自行將 Starlink Mini 或標準衛星天線安裝於車頂或車內。這類改裝雖可在野營、長途駕駛等場景中提供高速網路,但仍存在實際使用上的限制:
- 鍍膜玻璃可能影響訊號接收,需不斷調整擺放位置
- 外部天線影響車輛外觀,且耐候性與安全性較低
- 安裝需要額外供電與逆變器支援,接線繁瑣
- 吸盤與支架需定期檢查固定狀態,增加維護負擔
根據部分車主在論壇與社群(如 Reddit、Cybertruck Owners Club)分享,這些改裝雖能改善離網環境下的連線狀況,但仍希望未來能有更完善的原廠整合方案,解決訊號不穩與使用不便的問題。

車主對原廠整合的潛在期待
若特斯拉將此通訊模組整合至量產車,將有助於簡化現有使用方式,車主可能獲得以下優勢:
- 不需額外購買衛星天線或自行安裝設備
- 車輛可自動切換行動網路與衛星連線
- 即使處於訊號死角,導航與地圖更新仍可正常進行
- 對自駕功能、Robotaxi 系統提供穩定連線基礎
- 露營、越野與長途駕駛時更具安心感
這些改善方向,有望讓「頂級連線訂閱」成為更具吸引力的整體服務方案,並提升其實際使用價值。

實際導入仍需克服多重條件
儘管該專利展現出完整的通訊整合構想,距離實際應用仍需通過多項技術與法規挑戰。包含:
- 材料是否能通過車頂強度、碰撞與耐候測試
- 天線模組與訊號處理系統的耗電與散熱設計
- 成本是否可控制在適用於主力車型的水準
- 未來是否需要額外訂閱 Starlink 車用服務,或與頂級連線訂閱整合收費模式
隨著車輛越來越依賴穩定連線,這項車頂通訊模組的設計,不只可能成為整合衛星服務的基礎,也有機會補足偏遠地區的連線空窗。未來若進一步導入量產車型,將有助於強化 Robotaxi、FSD 等自動駕駛功能在無網環境下的可靠性,並拓展頂級連線訂閱的應用場景。
延伸閱讀
韓國啟用 Starlink!全境開放衛星上網、五家航空導入機上 Wi-Fi
Apple 攜手 Starlink 加速衛星通訊布局!iPhone 18 有望支援 5G 衛星
立委揭露台灣特斯拉終於詢問 FSD 申請!自駕與 Starlink 進度仍卡關
若您有意在住家或營業場所導入 Tesla Powerwall 儲能系統,以降低停電風險、提升供電穩定性,可透過全台安裝量第一的 Powerwall 原廠認證安裝廠商 崧象智能 LINE 官方帳號 預約諮詢,並享有本站專屬電機場勘預約折扣。
若覺得本站內容實用,歡迎追蹤 LINE TODAY、Google 新聞 與 Facebook 粉絲專頁,日後查找用車資訊更方便。若有任何問題或建議,歡迎加入我們的 LINE 官方帳號 聯繫。












