特斯拉於 2025 年 10 月公開一項相機防眩光相關專利,針對強烈陽光條件下的相機成像問題提出改進方案,實際對應 FSD 和純視覺自動駕駛系統在特定光照環境下可能面臨的穩定性挑戰。
本文主要內容
根據專利描述,特斯拉並未改變既有的感測器配置,而是強化相機本身的耐用性與可靠度。設計結合微結構材料與主動調整機構,目的是在影像進入處理系統前降低眩光影響,提升視覺輸入品質與判斷準確性。

微錐體結構搭配主動機構抑制逆光
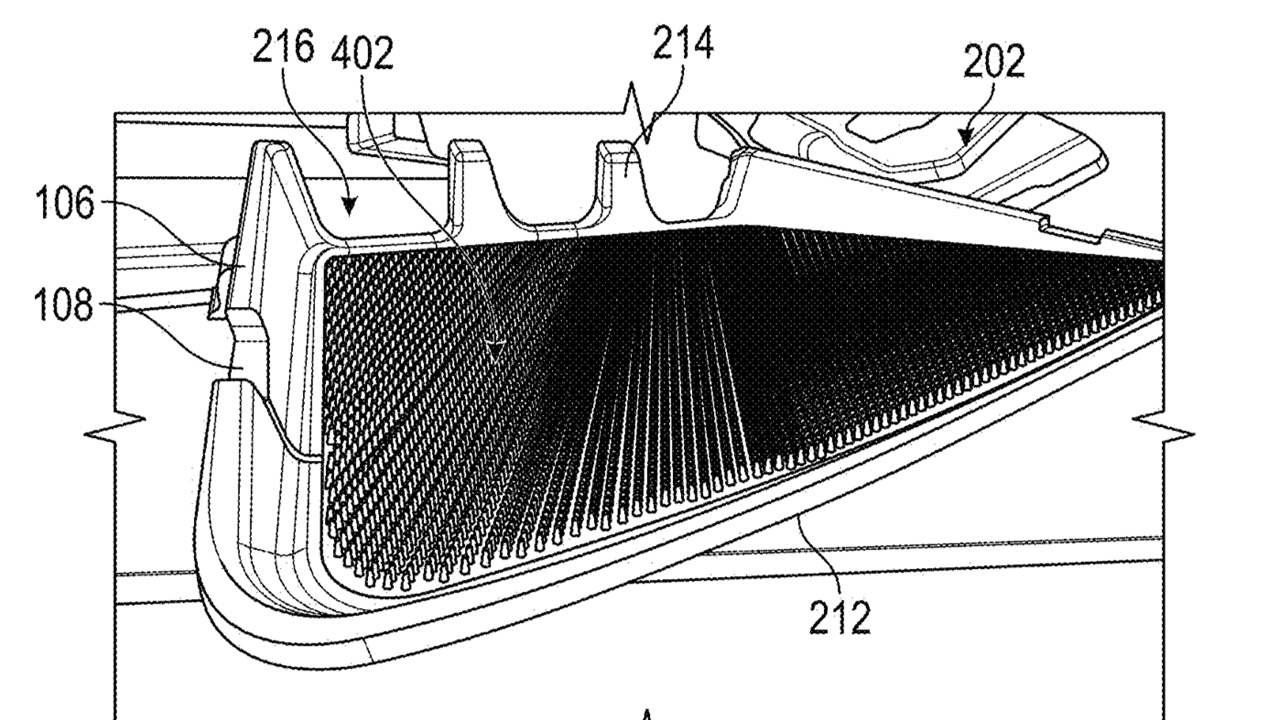
這項專利的核心是一種新型相機防眩光護罩,表面覆有微米級的吸光錐狀結構。這些錐體紋理設計的目的在於改變光線入射行為,而非單純作為外觀處理。

當強光照射在護罩表面時,微錐體會將光線分散至不同方向,同時吸收部分能量,避免形成單一強烈反射。實際效果類似將原本光滑易反光的材質,轉換為具有吸光特性的細緻絨面,有助於減少逆光環境下的成像干擾。

除了被動的表面處理,該專利也納入一組主動式調整機構。護罩可透過小型馬達調整角度,根據光源方向即時微調傾斜幅度,降低直射光進入鏡頭的機率,概念上類似為鏡頭增設可變形的「機械式瞳孔」。
專利製程已考量車用量產條件
從專利內容來看,這項設計並非僅止於概念層面。文件中具體描述了可量產的製造方式,採用燒結工具鋼插件進行模具成型,使微錐體紋理能穩定壓製於材料表面,並具備耐高溫、抗紫外線與耐候性能,滿足車用環境下的長期使用需求。

需要補充的是,該專利屬於美國公開申請案,編號為 US 2025/0334856 A1。公開申請代表技術已具備一定可行性與完整製程描述,但仍不等同於實際導入至市售車款。這類專利多為技術預研與架構佈局,是否採用仍須視後續硬體規劃與產品時程而定。

以這項防眩光結構的定位與複雜度來看,較可能搭配未來的 HW5 或 AI5 硬體平台一同推出。該平台預期支援更長時間的自動駕駛運行,主要應用包含 Robotaxi 等無人化載具,對感測器穩定性與極端光源適應能力有更高要求。
多數誤判情境來自逆光與反射干擾
在實際使用中,不少車主曾反映,在無雨或僅小雨的情況下,雨刷卻頻繁啟動,甚至出現亂刷問題。這類狀況多半發生於逆光、強烈路面反射或鏡頭前亮度劇烈變化時,系統可能誤判為雨滴或污漬而觸發雨刷。

類似的視覺干擾也可能影響輔助駕駛的穩定性。有使用者曾遇到系統於行駛途中跳出「視線受限」或「相機無法辨識」提示,隨即解除輔助功能。這類情形常見於夕陽直射、逆光進出隧道或經過高反光路段。

針對這些問題,特斯拉提出的防眩光專利,與既有的相機清潔或除霧系統明顯不同。它不處理鏡頭表面的雨水或灰塵,而是從光學結構著手,降低刺眼反射與逆光干擾,改善影像品質與系統穩定度。
強烈低角度光線是純視覺的難關
在實際自動駕駛使用中,日出與日落時的低角度陽光,一直是相機系統最難應對的光源條件之一。強烈逆光容易導致影像細節消失,影響物體辨識與距離判斷準確性。

對以相機為主的特斯拉系統來說,這類問題無法完全依賴後端演算法修正,而需從影像輸入端著手。若能在硬體層級先降低眩光與過曝,將有助於系統正確理解環境狀態,也能減少輔助駕駛因視線受限而中斷的情況。
延伸閱讀
特斯拉 FSD 比三寶更安全?88 歲高齡者與身障者自駕上路
特斯拉 Cybertruck 酒駕自撞燒死!車禍斷電門打不開怎解鎖
若近期有購車規劃,可以使用 electrify.tw 的推薦連結 前往特斯拉官網訂購,或將推薦碼連結提供給銷售顧問即可獲得 NT$ 8,000 購車優惠。若您即將交付新車,不妨參考 JOWUA 周邊配件。
若覺得本站內容實用,歡迎追蹤 LINE TODAY、Google 新聞 與 Facebook 粉絲專頁,日後查找用車資訊更方便。若有任何問題或建議,歡迎加入我們的 LINE 官方帳號 聯繫。












